苹果新铰链设计专利公示!折叠屏iPhone最早2026年发布
苹果折叠屏iphone专利曝光,或于2026年问世!业内一直盛传苹果正在研发折叠屏技术,近日,苹果公司公开了一项全新的折叠屏铰链设计专利,其巧妙的指状物和月牙槽设计有望带来更灵活耐用的折叠体验。

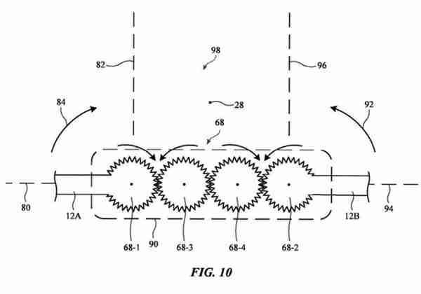
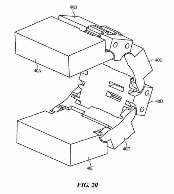
这项专利描述了一种独特的铰链结构,它由相互连接的指状部件和摩擦离合器构成,形成月牙形的槽口。这种设计允许各个铰链部件相对旋转,并将旋转轴移至部件外部,从而实现更灵活的折叠效果。

专利中提到,链节上的新月形槽用于容纳销钉,在折叠过程中,销钉沿着槽口滑动,确保相邻链节围绕位于铰链外部的旋转轴进行相对旋转,并提升了设备的耐用性和灵活性。此外,专利还包含一种壳体旋转同步机构,该机构利用齿轮连接设备的两部分外壳,保证折叠过程的平稳和稳定。

据悉,这项专利技术不仅可应用于iPhone,还可能用于iPad、Mac和Apple Watch等苹果设备。 知名爆料人古尔曼等预测,苹果最早将于2026年发布折叠屏iPhone,届时或将采用该专利中的部分技术。



网友留言(0 条)